Automatizace projektování číslicových systémů - 36APC

ČVUT FEL — studijní materiály a semestrální práce

Spíš než o automatizaci, je předmět o práci v týmu na HW projektu. Začátkem semestru se dělá pár příkladů ve VHDL a dohodne se projekt na kterém pak každý dělá určitou část. Pracovali jsme na CPU, který řídí datové přenosy. Více na stránkách Martina Daňka (stránka již neexistuje) (cvičící - vedoucí projektu).

Semestrální práce - CPU s využitím PicoBlaze (kcpsm3)

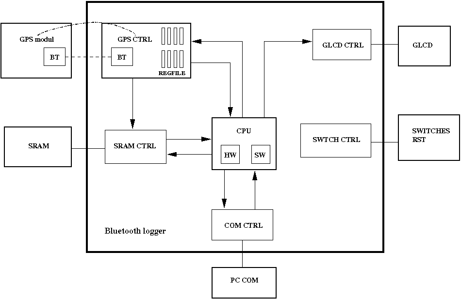
system arch Cílem bylo navrhnout zařízení, které bude číst, zpracovávat, zobrazovat a přenášet do počítače data z GPS modulu. S Milošem Hrdým jsme dělali na CPU. Vyšli jsme z PicoBlaze kcpsm3, ke kterému jsme dopsali adresní dekodér. Poté jsme celý CPU portovali na Xilinx Spartan 2E včetně assembleru.